Strömungspumpe Technik

Das Technik-Kompendium rund um Strömungspumpen und Zubehör
Umfang:
128 Patentschriften - zusammen 1251 Seiten bei Papierausdruck (DIN A4)
Beschreibung des Inhalts:
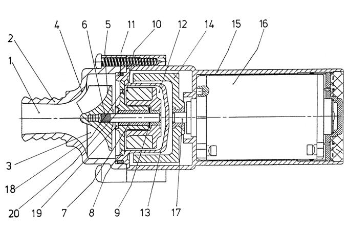
Das Technik-Kompendium rund um Strömungspumpen und Zubehör. Eine einmalige Ideensammlung für Entwickler, Bastler und Selbstbauer. In dieser umfangreichen Patentschriftensammlung finden Sie unzählige Entwicklungen und Konstruktionsbeispiele für Strömungspumpen aller Art. Hier erhalten Sie umfassende technische Beschreibungen und detailgenaue Zeichnungen von verschiedenen Strömungspumpen (z.B. Seitenströmungspumpen), Axialpumpen und Radialpumpen, sowie Radialkreiselpumpen für die unterschiedlichsten Einsatzbereiche, einzelne Bauteile und vieles mehr rund um Strömungspumpen verschiedenster Art. Und all das auf 1251 Seiten!
Dabei kommen diese Informationen von erster Adresse - nämlich direkt von den Erfindern! Wertvolles und überaus hilfreiches Material sowohl für Profis, als auch für Hobby-Selbstbauer. Die Patentschriften sind auch für Restaurierer und Bastler sehr hilfreich, wenn es darum geht, die Technik zu verstehen, um selbst Teile o.ä. zu bauen. Eine echte Fundgrube an Informationen!
Jede Patentschrift ist so aufgebaut, dass die Erfindung in Text und Zeichnungen genauestens beschrieben und dargestellt ist, so dass Sie die Konstruktion in allen Details nachvollziehen können. Auch als Reparaturleitfaden für defekte oder überholungsbedürftige Teile perfekt geeignet!
Quellenangabe und Dateiformat:
Die Patente wurden aus nationalen und internationalen Patentdatenbanken zusammengestellt. Die Patente sind in deutscher Sprache. Alle Patentschriften sind im PDF-Format. Die PDF-Dateien können am Bildschirm gelesen werden oder lassen sich in jedem gewünschten Umfang ausdrucken. Zum Öffnen der Dateien benötigen Sie den kostenlos im Internet erhältlichen Adobe Acrobat Reader.
Für nur 19,95 Euro erhalten Sie 128 Patentschriften, die einen Nominalwert von 448,00 Euro haben, da der Preis pro Patent bei Patentrecherchen durchschnittlich 3,50 Euro beträgt.
Informationen zur Produktsicherheit (GPSR)
Hersteller:
Albin Kosiorek
Max-Schlosser-Straße 25
92224 Amberg
Deutschland
E-Mail: info@technik-bauanleitungen.de
Produktidentifikation:
Strömungspumpe Technik Patente, Artikel-Nr. StPu-TP
Warn- und Sicherheitshinweise (Digitalprodukt):
- Der Download erfolgt über unseren gemieteten Webspace. Wir stellen ausschließlich PDF-Dateien in einer ZIP-Datei bereit. Verwenden Sie einen aktuellen PDF-Reader und laden Sie die Dateien über den von uns bereitgestellten Download-Link herunter.
- Die Inhalte sind ausschließlich zur Information und zum Lesen bestimmt. Eine praktische Umsetzung/Nachbau der beschriebenen technischen Inhalte kann gefährlich sein und darf nur durch fachkundige Personen unter Beachtung aller geltenden Sicherheitsvorschriften und Normen erfolgen. Die Umsetzung erfolgt eigenverantwortlich; eine Haftung für Schäden aus eigenmächtigem Nachbau/unsachgemäßer Anwendung ist ausgeschlossen, soweit gesetzlich zulässig.
Wenn Sie auf "Jetzt kaufen" klicken, können Sie die Patentschriften per PayPal-Bezahlung für 19,95 Euro (Endpreis, versandkostenfreier Download, gemäß §19 UStG ohne Ausweis der Mehrwert-/Umsatzsteuer) erwerben. Nach erfolgreicher Kaufabwicklung werden Sie sofort zur Downloadseite weitergeleitet, wo Sie die Patentschriften als ZIP-Datei herunterladen können.
Durch den Abschluss des Kaufes erklären Sie sich mit unseren Datenschutzbestimmungen und Allgemeinen Geschäftsbedingungen einverstanden.
Falls Sie die Bezahlung per Banküberweisung bevorzugen, benutzen Sie bitte unser Bestellformular.
Patentschriften zu verwandten Themen:

